對於開放世界類遊戲中的分支路線和地圖中出現的各種未探索地點一直是玩家所困擾的問題,然而索尼近期獲得的一項全新專利似乎將為玩家規劃好體驗這類遊戲的最優解。

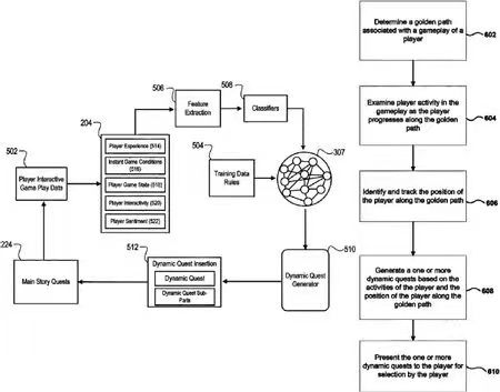
從公開的專利示意圖可以看出,為提供給玩家最滿意的遊戲體驗,索尼所申請的專利將根據玩家所探索的遊戲劇情佔比和難度自動生成好下一個需要完成的支線任務。而當玩家在開放世界的地圖探索進度尚未達到要求時,系統還將為玩家提供更多內容加以彌補而免去了無用的探索時間。這種策略除了會為玩家展現開放世界遊戲的魅力之外,還將為所有玩家指引一條屬於自己遊戲風格的康莊大道。










