關於《塞爾達傳說:荒野之息》續篇任天堂並沒有公布太多信息,而近日三項任天堂新遊戲專利被爆出,其細節內容與E3《塞爾達傳說:荒野之息》續篇預告中的內容十分相像。

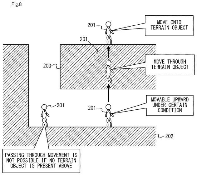
第一項專利(世界知識產權組織第2020370175號)與穿牆移動有關,在《荒野之息》續篇預告片中曾有林克穿牆而上的畫面,這一項專利指出這種穿牆行動可以隨時隨地使用,而不一定非要在特定地點執行。



第二項專利(世界知識產權組織第20210370178號)涉及環境謎題及其含義,在預告片中有林克獲得了新能力,可以將物體的時間倒轉,而這項專利解釋了該機制的工作原理。


第三系專利(世界知識產權組織第20210370179號)專注於自由落體,人物在自由落體時可以採取各種各樣的行動,包括轉身、俯沖,還可以使用弓箭射擊敵人。











