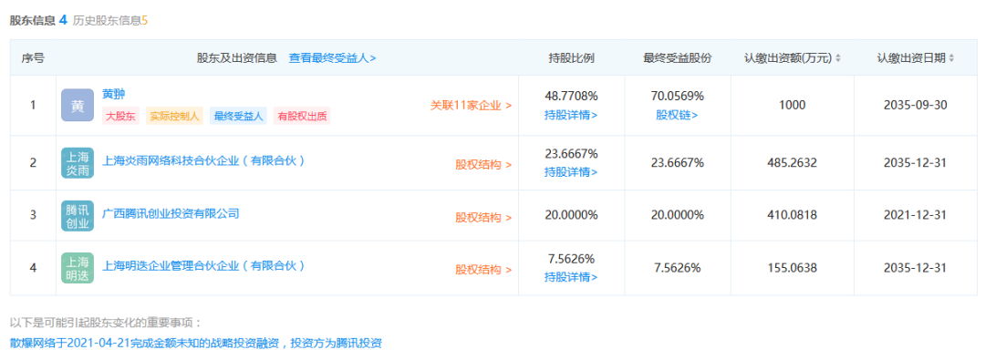
據企查查信息顯示,騰訊關聯公司廣西騰訊創業投資有限公司入股《少女前線》開發商上海散爆網路科技有限公司,持股約20%。


《少女前線》是由上海散爆網路科技有限公司開發,上海暗冬網路科技有限公司運營的一款後啟示錄題材的戰術策略養成類游戲。《少女前線》運營後迅速獲得國內二次元玩家的喜愛,其後海外發布後,更是在韓國市場位居暢銷榜TOP10、成為一款現象級二次元手游,月收入達數千萬。
目前散爆網路已公布的未來新作包括《逆向坍塌:麵包房行動》、《少前:譎境》、《少前:雲圖計劃》、《少前2:追放》。

據悉,今年5月2日,散爆網路將舉行首次《少女前線》嘉年華活動,將進一步公布這4款新游戲的最新消息。









